欢迎来到济宁和利隆机电设备有限公司官网!

服务热线

18564280928

联系我们

电话:18564280928
手机:18564280928
邮箱:admin@baidu.com
地址:山东济宁鱼台县北环路西首

防火防水密闭门

矿用全自动防水密闭门

作者:helilong 时间:2020-09-07 14:20
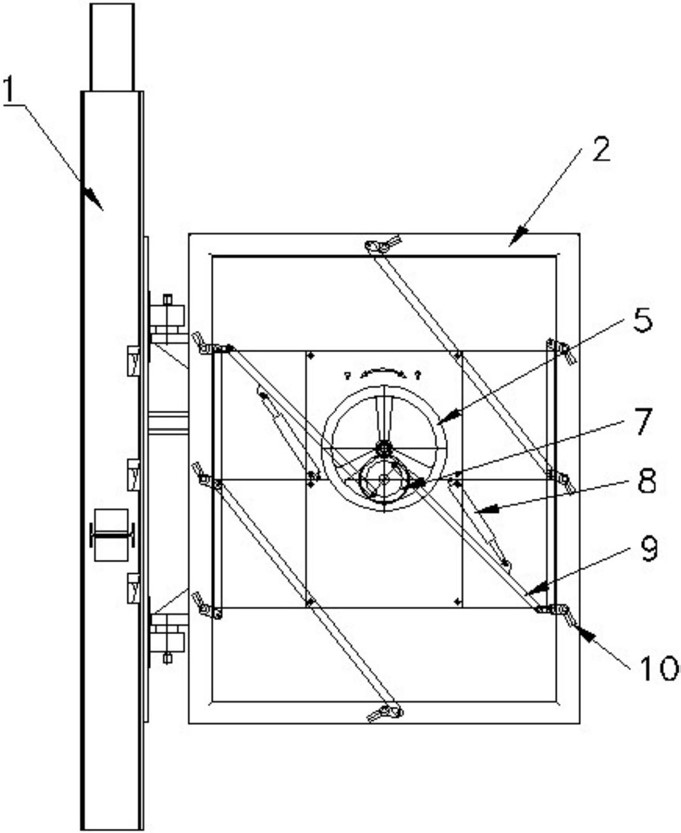
矿用全自动防水密闭门,包括门框、门扇、驱动开关门油缸、手轮、锁紧油缸、连动杆,所述门扇通过轴承铰链与门框上,驱动开关门油缸的前端通过支耳与门扇连接,驱动开关门油缸的后端通过支座与门框连接,所述门框的四周粘结有密封胶垫,所述门扇内设有手轮,手轮与传动齿轮啮合,传动齿轮与连动杆连接,连动杆的末端设有门锁,锁紧油缸的一端与连动杆连接,另一端固定在门扇内的支架上,所述驱动开关门油缸及锁紧油缸通过连接油路与驱动液压泵站连接,驱动液压泵站通过电气连接线路与智能控制主机连接。本实用新型设计合理;防水密闭门采用自动控制系统,改变了以往人工调制的方式,不仅能够节省人力,提高了矿井的地下安全。
矿用全自动防水密闭门
矿用防水防火密闭门主要设置在井下变电所和排水泵房通往井底车场的通道内,也可安装在采区大巷中,起到突发灾害时既能防止水灾的侵袭又有防止明火及烟尘的功能,而现有技术中的煤矿井下防水密闭门一般采用人工操作,即人工打开和关闭,人工锁紧和解锁,其基本结构由门框、门扇、合页和锁紧装置构成,锁紧装置一般由安装在门扇门框上的楔块、丝杆或锁紧转动手柄构成,打开或关闭防水密闭门时,需要人工进行操作,逐个转动手柄或锁紧楔块进行锁紧或打开,防水密闭门平时处于常开状态,发生灾害时,人工操作耗费时间、人力,不能及时快速的关闭密闭门,而现在有些井下水泵房已经实现无人值守,发生灾害时,密闭门不能自动关闭无法实现对变电所、水泵房的保护,显而易见手动防水密闭门已不适应目前矿井自动化的发展需求。
矿用全自动防水密闭门
矿用全自动防水密闭门工作原理:
防水密闭门自动关门动作:远程发出关门指令或就地按下关门按钮后,控制信号传输至控制系统主机,系统主机转化为输出信号,首先启动语音报警器,发出“密闭门正在关闭,请注意安全”警示,同时控制主机控制启动液压站开始工作,驱动开关门油缸3动作将密闭门的门扇2关闭,密闭门关闭到位后,位置传感器收动信号后,传送至主机,主机控制驱动密闭门门扇2中的锁紧油缸8发出锁门指令,密闭门锁紧后,控制主机通过延时停止液压站工作,同时语音警示指示关闭,关门动作完成。
防水密闭门自动开门动作:远程发出开门指令或就地按下开门按钮后,控制信号传输至控制系统主机,系统主机转化为输出信号,首先启动语音报警器,发出“密闭门正在打开,请注意安全”,同时控制主机控制液压站启动工作,密闭门门扇2内的锁紧油缸8将密闭门解开锁紧,位置传感器接收到门锁打开后,传送信号至控制主机,主机控制驱动开门开关门油缸2 动作,将密闭门打开,密闭门打开后液压站停止工作,同时语音警示指示关闭,开门动作完成。
防水密闭门异常停电时:密闭门的控制系统具有停电自卸荷功能;即控制系统停电时自动卸荷油缸内压力转换为手动开关门动作,此时可通过人为手动关门,转动手轮(5锁紧手轮与锁紧装置相连接)即可实现对密闭门的关门锁紧动作。
 以上所述为本实用新型较佳实施例,对于本领域的普通技术人员而言,根据本实用新型的教导,在不脱离本实用新型的原理与精神的情况下,对实施方式所进行的改变、修 3/3页改、替换和变型仍落入本实用新型的保护范围之内。
Baidu
map